|
Андрей Колпаков
Схемотехнические способы борьбы с защелкиванием в каскадах с IGBT-транзисторами
Введение
Преимущества IGBT-транзисторов при использовании их в импульсных силовых каскадах (особенно высоковольтных) общеизвестны: это высокая плотность тока, малые статические и динамические потери, отсутствие тока управления, устойчивость к короткому замыканию, простота параллельного соединения.
Отсутствие тока управления в статических режимах и общее низкое потребление по цепям питания позволяют отказаться от гальванически изолированных схем управления на дискретных элементах и создать интегральные схемы-драйверы. Драйверы, управляющие транзисторами нижнего плеча, в настоящее время выпускаются практически всеми ведущими фирмами. Кроме обеспечения тока затвора они способны выполнять и ряд вспомогательных функций, таких как защита от перегрузки по току, от падения напряжения управления и ряда других.
В дополнение к ним некоторые фирмы выпускают драйверы транзисторов верхнего плеча, выдерживающие перепад напряжений до 600 В (и даже 1200 В), а также драйверы полумостовых и мостовых соединений мощных транзисторов. На их входы подаются сигналы КМОП- или ТТЛ-уровня относительно отрицательной шины питания. Особая ценность таких микросхем состоит в том, что их выходные каскады способны питаться от так называемых «бутстрепных» конденсаторов в схемах «зарядового насоса» и не требуют «плавающих» источников питания.
Большую гамму драйверов различного назначения поставляет фирма International Rectifier, в том числе:
- драйвер транзистора верхнего плеча IR2125
- драйвер полумоста IR211Х
- драйвер трехфазного моста IR213Х
- драйвер трехфазного моста на напряжение 1200 В IR223Х
Среди наиболее известных можно также назвать драйверы нижнего плеча МС33153, МС34151 фирмы Motorola и драйверы с гальванической развязкой Hewlett-Packard.
Все сказанное делает транзисторы IGBT в сочетании с микросхемами управления оптимальными элементами для построения силовых ключевых каскадов мощностью до десятков киловатт. Однако указанные элементы имеют и ряд технологических недостатков, ограничивающих область их применения. Среди наиболее серьезных — наличие времени рассасывания базы биполярной части IGBT (хвоста) и способность транзисторов и драйверов к защелкиванию.
Причины защелкивания
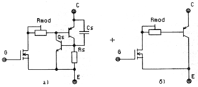
Причиной защелкивания IGBT транзисторов является наличие триггерной структуры, образованной биполярной частью IGBT и паразитным NPN транзистором. Эквивалентная схема, учитывающая подобный эффект, показана на рис. 1, а. Такую эквивалентную схему приводили в своей документации многие фирмы, в частности Siemens, Toshiba, Fuji и другие.
Рис. 1
Наличие триггерной структуры приводит к тому, что при определенных условиях работы, когда напряжение на паразитном резисторе Rs превышает некоторое пороговое значение, транзистор Qs открывается, триггер опрокидывается и происходит защелкивание. Следствием этого, как правило, является лавинообразный выход прибора из строя. Повышение напряжения на Rs происходит либо вследствие резкого возрастания тока (например, при коротком замыкании), либо из-за большой скорости нарастания напряжения (когда фронт напряжения дифференцируется паразитной емкостью Cs).
При разработке схем с использованием транзисторов IGBT, в которых такая ситуация возможна, следует особое внимание уделять ограничению максимальных токов и ограничению dV/dt. Для этого существует ряд известных способов, в частности правильный выбор тока защиты, выбор резистора затвора Rg и использование цепей, формирующих траекторию переключения. Все эти методы описаны в руководствах по использованию транзисторов.
С эффектом защелки ведется успешная борьба. Так, например, в «Рекомендациях по применению» фирмы International Rectifier уже в начале 90-х годов указывалось, что триггерная структура подавлена полностью и защелка исключена при всех режимах работы, включая ток короткого замыкания и любые достижимые фронты напряжений и токов. В документации Siemens 1997 г. также говорится, что в транзисторах нового поколения паразитная полупроводниковая тиристорная структура отсутствует. В результате этого эквивалентная схема приобретает вид, показанный на рис. 1, б). Кроме отсутствия эффекта защелкивания при этом обеспечивается также прямоугольная область безопасной работы (SOA), что особенно важно для разработчиков.
Однако защелкивание в микросхемах драйверов остается серьезной проблемой, с которой неизбежно сталкивается пользователь, работающий с практическими схемами. Причем в документации, выпускаемой фирмами-разработчиками, этой проблеме внимание почти не уделяется.
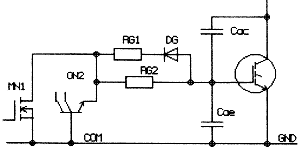
Механизм возникновения защелки в драйверах несколько иной, чем это показано выше. На рис. 2 показан типичный выходной каскад драйвера, образованный комплиментарной парой КМОП-транзисторов MP1 и MN1. В схеме также присутствуют паразитные биполярные двухколлекторые транзисторы OP1, ON1, OP2, ON2, связанные с активными КМОП-транзисторами и их внутренними диодами. Именно эти биполярные транзисторы и формируют триггерную PNPN-структуру, приводящую к защелкиванию.
Рис. 2
Из приведенной схемы видно, что если выходное напряжение драйвера Vout станет выше напряжения питания Vcc (или ниже Vcom) на величину отпирания биполярного транзистора Vbe, то откроется один из паразитных биполярных транзисторов и защелкнется триггер, закоротив питание драйвера. Ток, протекающий при этом, достаточен, чтобы разрушить металлизацию интегральной схемы.
Благодаря структуре выходного каскада и наличию внутренних диодов КМОП-транзисторов драйверы способны противостоять защелкиванию до определенных значений наведенного тока. Например, драйверы серии IR21XX не защелкиваются при наведенном на выход токе до 0,5 А. Кроме того, из-за низких частотных характеристик паразитных транзисторов выходной каскад может не защелкнуться при длительности наведенного импульса менее 1 мкс. Следует также отметить, что ток защелки имеет отрицательный температурный коэффициент.
В документации по применению драйверов многие фирмы указывают максимальную скорость нарастания напряжения (dV/dt immunity), которую способен выдерживать драйвер. Для драйверов фирмы International Rectifier эта величина составляет ±50 В/нс. Это говорит о том, что при более высоких скоростях нарастания фронт напряжения, продифференцированный паразитной емкостью, может вызвать смещение выходного напряжения драйвера на указанную выше величину и, следовательно, повлечет за собой срабатывание триггерной структуры. Таким образом, правильное включение каскадов управления и силовых транзисторов имеет важное значение для обеспечения надежности.
Методы исключения защелки
Основное, на что надо обращать внимание при разработке топологии выходного каскада, — это правильное подключение цепей питания и общего провода. Ни при каких условиях силовые токи не должны протекать по цепям управления затвором. Вывод COM драйвера должен быть связан непосредственно с эмиттером IGBT (или истоком МОП ПТ). Соединение драйвера с затвором и эмиттером должно быть выполнено прямыми линиями минимальной длины. Если нет возможности установить транзистор на печатную плату, то провода цепи управления необходимо сделать бифилярными и прямыми. Высоковольтный конденсатор питания должен быть установлен максимально близко к силовому транзистору и иметь выводы с минимальной индуктивностью. International Rectifier указывает, что при суммарной индуктивности выводов 100 нГ перенапряжение в момент переключения может достигать 200 В. Для борьбы с перенапряжением ряд фирм выпускает конденсаторы с полосковыми низкоиндуктивными выводами.
Для ограничения dV/dt, которое может вызвать защелку из-за емкости Миллера, можно увеличивать резистор затвора Rg, однако при этом будут возрастать потери переключения. Можно также использовать RC цепи формирования траектории переключения (рис. 3).
Рис. 3
Цепочка (иногда она называется снаббер), показанная на рис. 3, затягивает фронт напряжения на время, определяемое емкостью и параметрами нагрузки. Перезаряд емкости происходит через резистор и открытый транзистор. Такие цепи также вносят дополнительные потери и усложняют аппаратную реализацию, однако иногда они являются единственной альтернативой.
В любом случае при расчете схемы разработчику приходится искать компромисс между потерями и надежностью и часто пожертвовать потерями представляется более рациональным. Хотя снаббер и решает проблему dV/dt практически во всех схемах, постоянная времени RC цепочки ограничена величиной паузы («deadtime») при переключении транзисторов верхнего и нижнего плеча. Обычно ее величина составляет 1–2 мкс. Поэтому иногда лучше увеличить номинал резистора затвора. Диапазон изменения этого резистора и его номинальная величина являются справочными данными. Резистор затвора — это элемент, задающий в основном динамические свойства каскада, и к его выбору надо относиться крайне осторожно. Он определяет потери при переключении и скорость переключения, так как вместе с емкостью затвора Cge образует RC цепь, на которую подается практически прямоугольный импульс управления. Вместе с обратной емкостью Cgc он создает затягивание фронтов за счет эффекта Миллера.
При правильном выборе резистора затвора большая часть наведенного тока смещения течет через емкость Cge (рис. 4), минуя выход драйвера. Таким образом, если выбрать резистор так, чтобы обратные токи драйвера не превышали 0,5 А, защелкивания не произойдет.
Рис. 4
Максимальная величина этого резистора ограничена многими факторами, главным из которых является следующий. При работе полумостовой схемы после паузы, когда оба транзистора закрыты, начинает открываться верхний транзистор. При этом фронт напряжения, нарастающего на нижнем транзисторе, дифференцируется емкостью Cgc и попадает на затвор, наводя ток смещения на резисторе Rg. Если его величина будет достаточно большой, то напряжение, возникающее из-за протекания этого тока, может стать достаточным для открывания нижнего транзистора. Следствием этого будет непредсказуемый сквозной ток.
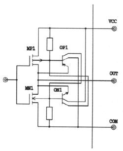
Вообще, увеличение резистора затвора противоречит требованию максимальной скорости переключения IGBT или МОП ПТ, ради которой и используют эти элементы. Для того чтобы, с одной стороны, предотвратить защелкивание, а с другой, не допустить самопроизвольного открывания и получить максимальную скорость выключения, иногда целесообразно разделить резистор Rg для включения и выключения и оптимизировать соответственно каждый из них (Rg1 и Rg2). На рис. 4 показаны часть выходного каскада драйвера MN1 с паразитным биполярным транзистором ON2, затворными резисторами RG1, RG2 и силовым IGBT транзистором нижнего плеча с паразитными емкостями Cge и Cgc.
Резистор RG2 выбирается так, чтобы ток смещения, наведенный за счет dV/dt и проходящий через Cgc, не приводил к открыванию паразитного транзистора ON2. Резистор RG1 обеспечивает необходимую скорость выключения силового транзистора и предотвращает ложное срабатывание при открывании транзистора верхнего плеча (RG1<RG2).
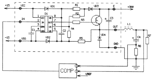
Рассмотрим еще одну широко известную схему, при использовании которой у разработчиков возникают проблемы, сходные с проблемой защелкивания. Плата, выполненная по этой схеме, распространяется фирмой International Rectifier как демонстрационная (Demonstration Board) для применения драйвера транзистора верхнего плеча IR2125. Схема платы (она отделена пунктиром) и конфигурация, в которой она включена, приведены на рис. 5. Плата содержит драйвер со схемой «зарядового насоса» для питания и устройством защиты от перегрузок по току. Защита срабатывает при выходе транзистора из насыщения и настроена на напряжение Uce около 6 В, что соответствует току коллектора транзистора IRGPC50U примерно 200 А. Цепочка VD2, R5 служит для исключения отрицательных пиков напряжения на выводе Vs драйвера из-за паразитной индуктивности в цепи эмиттера транзистора.
Рис. 5
Схема, приведенная на рис. 5, представляет собой ШИМ-регулятор напряжения. Выход компаратора COMP управляет входом драйвера. На его инвертирующие входы подаются сигналы обратной связи с выхода регулятора и с резистора R6, измеряющего ток заряда конденсатора сглаживающего фильтра. Сигналы обратной связи сравниваются с опорным напряжением Uref. Таким образом, на нагрузке поддерживается постоянное напряжение, а зарядные токи конденсатора не приводят к срабатыванию защиты. Питание схемы производится от выпрямленного сетевого напряжения 220 В. Ток, потребляемый нагрузкой R7, не превышает 10 А.
Однако при включении этой схемы неоднократно наблюдались процессы, сходные с защелкиванием и приводившие к выходу из строя как драйвера, так и силового транзистора, хотя все указанные выше требования были соблюдены. Причину происходящего помогают объяснить эпюры, полученные при моделировании схемы с помощью программы PSPICE (см. рис. 6). Для анализа были разработаны макромодели драйвера IR2125 и IGBT-транзистора, обеспечивающие их характеристики с высокой точностью.
Рис. 6
На нижней эпюре показан ток коллектора транзистора Ic, начиная c момента включения, когда напряжение на нагрузке нулевое. Он нарастает до величины, ограниченной обратной связью (около 80 А), после чего драйвер стремится отключить силовой транзистор. Однако из-за индуктивного характера нагрузки при запирании транзистора открывается диод VD4, ток которого в первый момент имеет такую же величину. Прямое падение напряжения на диоде при таком токе составляет около 5 В, то есть напряжение на эмиттере транзистора (Ve) в этот момент — минус 5 В. Между тем, потенциал на выходе драйвера такой же, как на выводе VS (Vvs). Его величина ограничена диодом VD2 и не превышает 0,7 В. Поэтому транзистор оказывается приоткрыт и ток через него не прекращается! Это видно из графика Ic. Транзистор выходит из насыщения, и мощность, рассеиваемая на нем (около 3 кВт), может привести к разрушению кристалла. Как правило, после выхода из строя транзистора повреждается и драйвер. Исключение из схемы диода VD2 устраняет эту проблему, однако появляется вероятность повреждения драйвера из-за отрицательных пиков. Показанный процесс можно назвать схемотехнической защелкой, в отличие от защелки технологической.
Современные технологии и, в частности, появление транзисторов IGBT, MOSFET нового поколения и драйверов раскрывают перед разработчиком широчайшие возможности. Использование этих элементов в сочетании с цифровыми контроллерами позволяет строить мощные малогабаритные преобразователи, имеющие высокую надежность. Однако для реализации этих возможностей необходим строгий подход к расчету, разработке схем и конструированию. Только компьютерное моделирование схем, без которого современная разработка немыслима, позволяет учесть все требования по применению новых элементов и обеспечить необходимые режимы работы.
Литература
IR Application Notes:
- Use Gate Charge to Design the Gate Drive Circuit for Power MOSFETs and IGBTs. AN-944.
- Application Characterization of IGBTs. INT990
- IGBT Characteristics. AN-983.
- HV Floating MOS-Gate Driver Ics. AN-978.
- Иванов В. В., Колпаков А. Применение IGBT. Электронные компоненты, 1996, № 1
kai@megachip.ru
|