Рубликатор

 



























Все о псориазе



Алексей Соболев, Алексей Соловьев

Микроконвертеры семейства ADuC8xx — системы сбора данных на кристалле

Семейство микросхем ADuC8xx — это очередной этап развития технологии сбора и преобразования аналоговой информации в цифровую и обратно. В основе идеи, успешно реализованной фирмой Analog Devices, лежит дополнение кристалла стандартного высокопроизводительного АЦП возможностями, делающими удобным процесс дальнейшей обработки информации без ухудшения параметров измеряемых аналоговых сигналов. Для этого на кристалл АЦП добавлена цифровая часть, не влияющая на работу и производительность АЦП и состоящая из стандартного микроконтроллера и энергонезависимой, программируемой памяти (FLASH).

В настоящее время семейство микросхем ADuC8xx состоит из трех микросхем: ADuC812, выпущенных в серийное производство летом 1999 г., ADuC824, серийно выпускаемой с октября 2000 г., и ADuC816, ставшей доступной для широкого круга пользователей в феврале этого года. В ближайших планах Analog Devices стоит выпуск еще двух микросхем этого семейства (ADuC812SO — 28-выводная «дешевая» версия ADuC812 и ADuC824B2 — 64-килобайтная версия микросхемы ADuC824), которые смогут завершить полноту ряда предлагаемых решений.

Прошло уже больше года после знакомства читателей с первыми микросхемами семейства ADuC8xx, и нас приятно удивляет интерес разработчиков к этой линии продукции фирмы Analog Devices. Особенный интерес ощущается к «первенцу» семейства — микроконвертеру ADuC812 [1]. В начале статьи мы дадим ответы на самые часто повторяющиеся вопросы разработчиков по использованию этой микросхемы [2]. Во второй части статьи будет представлен материал по микросхеме ADuC816 [3] и ее отличительным от других продуктов семейства особенностям.

Часто задаваемые вопросы по использованию ADuC812

    В: У микроконвертера имеются два независимых вывода аналоговой и цифровой «земли». Следует ли соединить каждый из них с соответствующей «землей» на плате?

О: Нет. За исключением, может быть, того случая, когда аналоговая и цифровая «земли» вашей платы соединяются в непосредственной близости от микросхемы. Во всех остальных случаях микроконвертер лучше «заземлять» на одну «землю» (наименее «шумную» — как правило, аналоговую) для получения оптимальной производительности АЦП и ЦАП.

В: ADuC812 имеет отдельные выводы для подачи аналогового и цифрового питания. Можно ли применять раздельное питание, например, 3,3 В для DVDD и 5 В для AVDD?

О: Нет. Максимально допустимая разница между DVDD и AVDD составляет ±0,3 В, поэтому лучше питать микроконвертер одним напряжением. Единственное, чем вы можете разделить шины аналогового и цифрового питания — это или небольшая (размер 0805) ферритовая шайба («бусинка», ferrite bead), или резистор сопротивлением 1–2 Ом. Кроме того, небходимо развязать каждый вывод питания на землю через планарный конденсатор емкостью 0,1 мкФ с минимальной длиной проводников на плате. Также необходимо убедиться, что на вашей плате установлены электролитические конденсаторы для развязки шин питания и земли. Если вы все же решите применить источники питания, разделенные ферритовой шайбой или резистором малого сопротивления, проверьте, установлены ли планарные и электролитические конденсаторы на каждый источник питания.

В: Поддерживает ли ADuC812 security bits для защиты памяти Flash/EE от записи/чтения?

О: Эти биты есть в данном микроконвертере, но они некорректно функционируют, поэтому эта защита не заявлена фирмой-производителем для ADuC812. Не рекомендуется производить запись по адресу 0xA0, это может привести к запиранию микросхемы. Более подробно см.[2, 4, 5].

В: Нужно ли использовать схему внешней генерации сигнала сброса для ADuC812?

О: Необходимо реализовать внешнюю схему POR (power—on reset) для управления входом RESET микросхемы. Эта схема должна удерживать высокий уровень на входе RESET даже при уменьшении напряжения питания на AVDD и на DVDD ниже значения 2,5 В. Более того, напряжение на VDD должно поддерживаться выше уровня 2,5 В по крайней мере 10 мс до момента переключения сигнала RESET в низкий уровень. Схема POR должна сохранять работоспособность при напряжении 1,2 В или даже меньше. Детали рассмотрены в [4], [5].

В: Порт 1 обычно используется для аналогового ввода. Допустимо ли использование порта 1 для цифрового ввода/вывода?

О: Этот порт может использоваться для аналоговых или для цифровых входов, но не для цифровых выходов. По умолчанию этот порт сконфигурирован для аналоговых входов. В этом случае регистр этого порта для всех входов содержит 0xFF. Чтобы сделать какой-либо вход цифровым, просто очистите соответствующий этому входу бит в регистре порта (P1).

В: С какой максимальной тактовой частотой допустимо использование микроконвертера?

О: Ядро 8052 может нормально работать при величине тактовой частоты, намного превышающей максимальную тактовую частоту 16 МГц, однако в этих условиях возможно ухудшение эффективности работы аналоговой части. Поэтому использование кварцевых резонаторов с большей частотой, чем 16 МГц, не рекомендуется.

В: Является ли встроенное ядро микроконтроллера 8052 статическим? Какова минимальная тактовая частота ADuC812?

О: Да. В принципе ядро 8052 может работать при очень медленном тактовом сигнале. Но при этом надо учитывать, что тактовый сигнал используется и для получения тактового сигнала для АЦП и снижение частоты этого сигнала уменьшает производительность АЦП. Тактовая частота АЦП получается из частоты тактового сигнала делением на 1, 2, 4 или 8 (выбирается через регистр ADCCON1). Минимальная тактовая частота АЦП составляет 400 кГц. Таким образом, для сохранения работоспособности АЦП минимальная тактовая частота составляет 400 кГц.

Новый микроконвертер ADuC816 — двухканальная, 16-разрядная система сбора данных со встроенным микроконтроллером

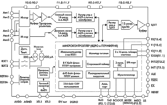
Структура новейшей микросхемы семейства представлена на рис. 1 [3]. Остановимся подробнее на трех отличительных особенностях данного микроконвертера в серии ADuC8xx: двухканальном сигма-дельта АЦП, тактовом генераторе, реализованном на стандартном «часовом» кварцевом резонаторе на 32,768 кГц и режимах программирования (модификации) внутренней FLASH/EE памяти.

Структура новейшей микросхемы семейства ADuC816

Рис. 1. Структура новейшей микросхемы семейства ADuC816

АЦП

Микроконвертер имеет два канала 16-разрядных сигма-дельта АЦП — основной и дополнительный. Рассмотрим функциональные особенности основного канала. При входном сигнале с амплитудой ±2,56 В и частоте обновления 20 Гц этот канал АЦП имеет реальное разрешение 16 разрядов и 13 разрядов при входном сигнале ±20 мВ при той же частоте обновления.

К АЦП основного канала можно подключить три дифференциальных входа, при этом мультиплексор может быть настроен для следующей конфигурации сигналов на входах: Авх1/Авх2, или Авх3/Авх4, или Авх3/Авх2. Входной буфер основного канала необходим для повышения входного сопротивления. Он позволяет подключать АЦП непосредственно к тензорезистивным датчикам, например к датчикам механических напряжений, а также к резистивным датчикам температуры. Высокое сопротивление входов основного канала позволяет использовать RC-цепи во входных цепях, что может пригодиться для задач подавления шумов и фильтрации радиоэлектронных помех. Особенностью микросхемы является наличие двух встроенных источников тока по 100 нA, подключенных ко входу буфера. Они могут быть использованы для «привязки к земле» высокоомных входов, а также для проверки работоспособности аналоговых входов до начала оцифровки. После буфера сигнал попадает на программируемый усилитель, позволяющий программно выбирать восемь диапазонов входных напряжений: для однополярного входа диапазон изменения напряжения от 0 до 2,56 В, для двуполярного — от ±20 мВ до ±2,56 В.

Структура дополнительного канала АЦП отличается от основного отсутствием буфера и программируемого усилителя. Поэтому входной сигнал сразу подается на сигма-дельта модулятор. Внешний входной сигнал прикладывается относительно «земли», имеет фиксированный диапазон напряжения от 0 до 2,5 В и может быть подан с одного из трех внешних входов Авх3/вх5. Значение параметров оцифровки дополнительного канала АЦП, таких как реальное разрешение, интегральная нелинейность, температурный дрейф коэффициента усиления, величина подавления помех, наведенных питающей 50/60 Гц сетью на входной аналоговый сигнал и на сигнал опорного напряжения, подавление пульсаций источника питания, такие же, как в основном канале. Преобразователь дополнительного канала уступает основному каналу по температурному дрейфу нуля и интегральной ошибке измерений.

Как и во всех микросхемах семейства ADuC8xx, на кристалле ADuC816 имеется встроенный датчик температуры, который может быть использован для оперативного измерения температуры кристалла и внесения соответствующих программных коррекций в произведенные измерения. Для питания внешних датчиков, например на основе резистивного моста, ADuC816 имеет два источника постоянного тока по 200 мкА каждый. Программным путем можно управлять подачей тока на выходы IEXT1 и/или IEXT2 от какого-либо одного источника, либо от двух источников вместе (тогда ток на одном выходе будет 400 мкА).

Источник опорного напряжения (ИОН) может использоваться либо внутренний, напряжением 1,25 В и температурной стабильностью 100 ppm/°C, либо внешний, напряжением, не превышающим напряжение источника питания. Для подключения к АЦП внешнего ИОН могут быть задействованы дифференциальные высокоомные входы REFIN+ и REFIN–. Состояние этих входов контролирует встроенный в ADuC816 детектор опорного напряжения. В некоторых случаях, когда необходимо задействовать всю разрешающую способность АЦП, использование внутреннего источника менее предпочтительно, так как он может иметь меньшую температурную стабильность и меньшую абсолютную величину опорного напряжения (1,25 В), чем внешний.

ADuC816 поставляются с заводской калибровкой 5 В/25 °С. Калибровочные коэффициенты сохраняются в Flash/EE и при каждом включении источника питания микросхемы переписываются в соответствующие регистры. В большинстве приложений этих коэффициентов достаточно для работы системы, однако если микроконвертер используется при напряжении питания 3 В и при температуре корпуса, значительно отличающейся от 25 °С, необходима пользовательская калибровка.

Тактовый генератор ADuC816

В микроконвертере ADuC816 в качестве внешнего тактового генератора очень удачно применен недорогой и в то же время очень распространенный кварцевый резонатор на 32,768 кГц. Кварцевый резонатор подключается к контактам XTL1 и XTL2 микроконвертера. Схема подключения его максимально проста и не содержит дополнитель- ных компонентов, но это не означает, что на сигма—дельта модуляторы в каналах АЦП и на ядро встроенного микроконтроллера поступает нестабильный тактовый сигнал. Микроконвертер ADuC816 содержит блок PLL (Phase Locked Loop), состоящий из умножителя частоты и системы ФАПЧ, стабилизирующей частоту сигнала после ее умножения в сотни раз. Применение одного такого резонатора, с одной стороны, облегчает реализацию устройств на базе ADuC816, а с другой стороны, обеспечивает необходимую синхронизацию работы АЦП и ядра 8051.

Итак, сигнал от внешнего тактового генератора поступает на блок умножителя с ФАПЧ, который умножает частоту сигнала в 384 раза для получения стабильной частоты 12,582912 MГц. Частота этого сигнала далее делится программно на заданое, кратное двум, число раз, и поступает на ядро 8051 в качестве тактирующего сигнала. Таким образом, в задачах, где не требуется максимальная скорость работы микроконтроллера, можно снизить потребляемый устройством ток путем изменения тактовой частоты. Диапазон регулирования частоты находится в пределах от 98,304 кГц до 12,582912 MГц.

Программирование содержимого внутренней памяти микроконвертера

ADuC816 содержит энергонезависимую память Flash/EE для хранения приложений пользователя. Программирование (изменение содержимого) этой памяти может осуществляться в двух режимах — параллельном и последовательном. В параллельном режиме доступ к внутренней памяти микросхемы осуществляется через внешний параллельный порт (порт 3). Для нормальной работы в этом режиме необходимы стандартные аппаратные средства (программаторы), выпускаемые третьими фирмами, и поддерживающие микросхемы семейства ADuC8xx. В последовательном режиме доступ к внутренней памяти осуществляется через стандартный асинхронный последовательный порт с помощью несложного кабеля. Последовательный режим программирования микросхем ADuC816 ничем не отличается от соответствующих режимов микросхем ADuC812 и ADuC824 и дает возможность пользователю программировать микроконвертер прямо «в системе». Оба режима програмирования поддерживают стандартные режимы защиты от несанкционированного копирования/чтения/модификации содержимого внутренней памяти.

Типовая конфигурация системы сбора данных, построенной  на микросхеме ADuC816

Рис. 2. Типовая конфигурация системы сбора данных, построенной на микросхеме ADuC816

Типовая конфигурация системы сбора данных, построенной на микросхеме ADuC816, приведена на рис. 2. Микросхема ADM810 (впрочем, может быть применен любой генератор сигнала RESET) предназначена для правильного формирования сигнала «сброс» по включению питания, ADM202 (опять же может быть применен любой преобразователь уровня сигналов) — для формирования уровней сигнала интерфейса RS-232 при подключении к COM-порту компьютера через стандартный разъем. Для включения микросхемы в режим программирования в системе необходимо «посадить на землю» через резистор 1 кОм вывод 41 (PSEN) путем замыкания контактов соответствующего разъема на плате и включить на PC программу-загрузчик, бесплатно поставляемую в комплекте стандартных инструментальных средств для микроконвертеров.

     Литература

  1. Соловьев А. Однокристальные системы сбора данных семейства ADuC8xx, — Компоненты и Технологии, № 3, 2000.
  2. http://www.argussoft.ru/as_cpwin/elecom/ad/faq.htm.
  3. ADuC816 — MicroConverter®, Dual-Channel 16-bit ADCs with Embedded Flash MCU, Rev.0, Feb-01, Analog Devices (Справочный листок).
  4. ADuC812 — MicroConverter®, Multichannel 12-bit ADC with Embedded Flash MCU, Rev.A, Mar-01, Analog Devices (Справочный листок).
  5. ADuC812 errata sheet, MicroConverter®, Multi-Channel 12-bit, ADC with Embedded FLASH MCU, REV. E.1 Feb-01, Analog Devices (Перечень известных ошибок).

sobolev@argussoft.ru (Алексей Соболев)
solo@argussoft.ru (Алексей Соловьев)


Статьи по: ARM PIC AVR MSP430, DSP, RF компоненты, Преобразование и коммутация речевых сигналов, Аналоговая техника, ADC, DAC, PLD, FPGA, MOSFET, IGBT, Дискретные полупрoводниковые приборы. Sensor, Проектирование и технология, LCD, LCM, LED. Оптоэлектроника и ВОЛС, Дистрибуция электронных компонентов, Оборудование и измерительная техника, Пассивные элементы и коммутационные устройства, Системы идентификации и защиты информации, Корпуса, Печатные платы

Design by GAW.RU