Компоненты Texas Instruments
для аудиоприложений. Часть 1
Уже далеко позади время грампластинок и катушек с магнитной лентой. Медленно, но верно падает популярность кассетных магнитофонов. На смену им идут, а вернее сказать, уже пришли, компакт диски, диски DVD, карты компакт-флэш. Можно с уверенностью заявить, что уже в очень скором времени все носители звуковой информации будут цифровыми. Как следствие, цифровые методы все больше проникают и в тракт обработки звукового сигнала и добрались уже до усилителей мощности. Появляются и совершенно новые технологии доставки аудиопрограмм слушателю. Набирает силу рынок "домашних кинотеатров", создание которых стало возможным благодаря появлению формата DVD. Развитие сети Интернет и технологии сжатия звуковых программ взорвали рынок проигрывателей MP3 (WMA, и др.). Бурно растет применение технологий цифрового радио Eureka DAB, которая во многих странах активно вытесняет обычное аналоговое радиовещание.
Во многом столь бурный прогресс обусловлен достижениями компаний, производящих электронные компоненты. Одним из лидеров в этой области является корпорация Texas Instruments (TI), предлагающая разработчикам практически полный спектр устройств для построения систем аудиообработки для любых целевых рынков. При этом сбалансированные по функциональности, характеристикам, уровню интегрирования компоненты TI позволяют создавать более компактные, более легкие, более экономичные системы, обеспечивая при этом возрастающее качество звучания и конкурентоспособные цены.
Рассмотрим путь прохождения звукового сигнала в современной аудиосистеме (рис. 1).

Наряду с традиционными аналоговыми источниками в современных системах все чаще появляются устройства, передающие звуковую информацию в цифровой форме. Передача данных от таких устройств осуществляется посредством таких интерфейсов, как USB (универсальная последовательная шина), IEEE1394 (FireWire) и уже завоевавший широкое распространение в системах домашних театров интерфейс S/PDIF. А значит, требуются соответствующие ресиверы, осуществляющие прием данных по этим интерфейсам и их синхронизацию. Цифровой сигнальный процессор (ЦСП) осуществляет декодирование аудиосигналов, сжатых с помощью таких стандартных алгоритмов, как Dolby и DTS, и выполняет постобработку этих сигналов (например, автокоррекцию акустических свойств помещения прослушивания и виртуализацию громкоговорителей).
Далее сигнал можно снова преобразовать в аналоговую форму с помощью цифроаналогового преобразователя (ЦАП) и пустить через традиционный аналоговый тракт, где осуществляется вторичная обработка сигнала и его усиление перед подачей на громкоговорители или головные телефоны.
Однако существует и активно внедряется другое, более современное решение — применение полностью цифровых усилителей. Аналоговые усилители предыдущих поколений требовали использования больших трансформаторов и радиаторов, что препятствовало построению компактных систем. Цифровые же усилители за счет очень высокого КПД позволяют существенно уменьшить или даже вообще исключить такие детали.
Texas Instruments поставляет на рынок практически все аналоговые и цифровые компоненты, необходимые для построения современных систем аудиообработки. Это специализированные и общего назначения 32-/64-разрядные сигнальные процессоры с плавающей точкой, ШИМ-процессоры цифрового аудио, аналоговые и цифровые усилители мощности, цифровые ресиверы, полное однокристальное решение для цифрового радио, многоканальные 24-разрядные АЦП, ЦАП и кодеки из производственной программы Burr-Brown, ЦАП и кодеки с интерфейсом USB. И это еще далеко не все.
Давайте теперь приступим к более подробному рассмотрению изделий Texas Instruments, предназначенных для применения в системах обработки и передачи звуковой информации. Это крайне обширная тема, и ее невозможно исследовать в рамках одной публикации, так что ждите продолжения. Сегодня же мы поговорим об АЦП, ЦАП и кодеках.
Аналого-цифровые преобразователи
Стерео-АЦП Texas Instruments представлены изделиями из производственной линейки Burr-Brown с разрядностью от 16 до 24 бит и динамическим диапазоном от 93 до 110 дБ. В таблице 1 приведена краткая сводка их характеристик.
Таблица 1
Устройство |
Разрядность, бит |
Отношение сигнал/шум, дБ |
Нелинейные искажения+шум, дБ |
Макс. частота выборки, кГц |
Входной сигнал |
PCM1800 |
20 |
95 |
–88 |
48 |
унип. |
PCM1801 |
16 |
93 |
–88 |
48 |
унип. |
PCM1802 |
24 |
105 |
–96 |
96 |
унип. |
PCM1804 |
24 |
111 |
–102 |
192 |
дифф. |
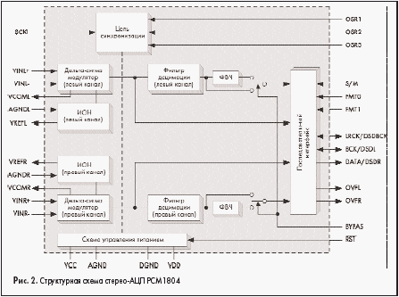
Наиболее сложное устройство. Имеет полностью дифференциальные аналоговые входы ±2,5 В. Его структурная схема приведена на рис. 2.

В PCM1804 применяется дельта-сигма-модулятор с 64- или 128-кратной передискретизацией. Встроенный сглаживающий фильтр с линейной фазовой характеристикой, имеющий неравномерность в полосе пропускания ±0,005 дБ и ослабление в полосе заграждения –100 дБ. Есть также отключаемый ВЧ-фильтр (ФВЧ) для устранения постоянной составляющей сигнала. Последовательный интерфейс поддерживает четыре формата данных (Left Justified, I2S, стандартный 24-битовый и DSD), причем PCM1804 может выступать в качестве
как ведущего, так и ведомого. Помимо этого, сигнал с дельта-сигма-модуляторов может быть непосредственно получен на внешних выводах устройства DSDR и DSDL. Частота выборки может достигать 192 кГц. Встроенные прецизионные источники опорного напряжения (ИОН) имеются для каждого канала и полностью обеспечивают все опорные напряжения, необходимые для получения заявленной метрологии. Питается устройство от двух источников питания с напряжениями 5 В (аналоговые цепи) и 3,3 В (цифровые цепи).
Выпускается в исполнении SSOP-28.
PCM1802
PCM1802 — тоже 24-разрядный, несколько уступает PCM1804 в метрологии и функциональности, но и стоит, соответственно, меньше. Аналоговые входы PCM1802 униполярные с полным размахом сигнала 3 В. Имеет встроенный ИОН, преобразователи униполярного сигнала в дифференциальный, дельта-сигма-модуляторы 5-го порядка с 64- или 128-кратной передискретизацией, антиалиасинговый фильтр и ФВЧ. Так же, как и
PCM1804, имеет раздельное питание аналоговых и цифровых цепей.
PCM1800 и PCM1801
Эти два стерео-АЦП с разрядностью, соответственно, 20 и 16 бит, будучи самыми дешевыми в серии, больше подходят для применения в системах с 5-вольтовым питанием, для которых особенно важно обеспечить низкую стоимость. Однако они имеют вполне приличные характеристики (см. таблицу 1), высокую функциональность и способны обеспечить высокое качество оцифровки звуковой программы.
16-разрядный PCM1801 поддерживает только два формата обмена данными и может выступать только в качестве ведомого. Зато возможность установки частоты выборки данных от 4 до 48 кГц позволяет найти для PCM1801 применение в областях, не связанных с аудиообработкой (например, для сбора данных с датчиков, выдающих частотный сильно зашумленный сигнал, таких как электромагнитные вихревые расходомеры).
PCM1800 по разрядности (20 бит), метрологии, функциональности и стоимости занимает промежуточную позицию в семействе, правда ближе к PCM1801. Кроме разрядности и характеристик, он отличается от PCM1801 поддержкой четырех форматов данных и возможностью работы в качестве ведущего.
Разумеется, для выбора АЦП под конкретное приложение материалов одной или даже нескольких статей недостаточно. Безусловно, кроме перечисленных, имеются и другие особенности у каждого из рассмотренных устройств. Чтобы быть уверенным в правильности сделанного выбора, совершенно необходимо ознакомиться со спецификациями и другими материалами, которые можно найти на сайте производителя или в офисах его дистрибьютеров и дилеров. Само собой, это касается не только АЦП, но и всех других устройств, как рассматриваемых в этой статье, так и выходящих за ее рамки.
Цифро-аналоговые преобразователи
Что касается ЦАП для аудиоприложений от Texas Instruments, то здесь выбор воистину неограничен. Их количество превышает три десятка. Здесь можно найти двухканальные ЦАП для стереофонии, многоканальные — для систем пространственного звуковоспроизведения, одноканальные, воспринимающие битовый поток, для систем Hi-End. Также существенно разнятся их разрядность, технические характеристики, функциональность и внешние интерфейсы. Поэтому вряд ли стоит подробно описывать весь спектр устройств. Приведем лишь краткую информацию, делая остановку лишь на наиболее ярких представителях этого класса ЦАП.
PCM160x — многоканальные 24-разрядные ЦАП
На момент написания статьи семейство PCM160x включало семь устройств, из них одно — PCM1608 — восьмиканальное, остальные — шестиканальные. Все они 24-разрядные и обеспечивают отношение сигнал/шум свыше 100 дБ. Самый дешевый (2,48 долл. за 1000 шт.)
АЦП этой серии PCM1606 обеспечивает динамический диапазон и отношение сигнал/шум 103 дБ и коэффициент нелинейных искажений 0,004%. PCM1606 единственный, выполненный в корпусе SSOP-20. Питается от одного 5-вольтового источника, может принимать слова с разрядностью 16 и 24 бит с частотой отсчетов от 5 до 100 кГц (до 200 кГц для каналов 1 и 2). Типовое значение рассеиваемой мощности составляет всего 171 мВт.
Остальные члены семейства PCM160x требуют раздельного питания аналоговой (5 В) и цифровой (3 В) цепей, потребляют несколько большую мощность, но и характеризуются более высоким по сравнению с PCM1606 отношением сигнал/шум (104–105 дБ) и вдвое меньшими нелинейными искажениями (0,0018–0,002%). Размер слова данных может составлять 16, 18, 20 или 24 бита. Все они поддерживают три формата данных, а именно стандартный I2S и Left-Justified. Все устройства имеют дополнительные программируемые пользователем функции, в частности цифровое ослабление сигнала от 0 до –63 дБ с шагом 0,5 дБ и программную функцию отключения выходного сигнала Mute. Все выполнены в 48-выводных корпусах QFP. Различия между устройствами невелики, но именно они в конечном итоге и определят, что использовать в вашем проекте.
PCM17xx — двухканальные ЦАП
PCM1725/33/44 — дешевые (все по 1,26 долл. за 1000 шт.) 16/18/24-разрядные стерео-ЦАП в миниатюрных 14-выводных корпусах SOIC. Динамический диапазон всех трех устройств составляет 97 дБ, частота выборки данных — от 16 до 96 кГц, поддерживаются стандартный и I2S форматы данных (для PCM1744 — только I2S).
PCM1730 и PCM1738 — выдающиеся во всех отношениях изделия. В них применена недавно разработанная Texas Instruments улучшенная архитектура, позволившая достичь превосходных динамических характеристик и уменьшить эффект джиттера (дрожания частоты синхронизации). Отношение сигнал/шум в 117 дБ и коэффициент нелинейных искажений 0,0004% — эти характеристики поразительны. PCM1738 отличается от PCM1730 возможностью цифрового ослабления сигнала от 0 до –120 дБ с шагом 0,5 дБ и функцией отключения выхода при отсутствии входного сигнала. Как PCM1730, так и PCM1738 поставляются в корпусах SSOP-28. Устройства имеют балансные токовые выходы, что дает пользователю возможность внешне оптимизировать свойства сигнала.
PCM177x — это семейство стерео-ЦАП с самым низким в промышленности напряжением питания (от 1,6 до 3,6 В) и потребляемой мощностью (6,5 мВт), интегрирующих, помимо собственно ЦАП, телефонные усилители или цепь линейного выхода, и все это в компактных корпусах TSSOP-16 или VQFN-20. Структурная схема ЦАП PCM1770 представлена на рис. 3. Устройства имеют динамический диапазон 98 дБ при коэффициенте нелинейных искажений 0,007% (для ЦАП PCM1772 и PCM1773 с линейным выходом) или 0,1% (для ЦАП PCM1770 и PCM1771 с телефонным усилителем). Частота отсчетов может варьироваться от 5 до 50 кГц. Отличия в равнофункциональных парах заключаются в использовании программного или аппаратного управления. Эти приборы замечательно вписываются в конструкцию аудиоустройств с автономным питанием.

Имеются и другие интересные ЦАП в ряду PCM17xx, однако они во многом похожи на те или другие из уже рассмотренных устройств, поэтому не будем на них останавливаться.
PCM2702 — 16-разрядный стерео-ЦАП с интерфейсом USB
Еще одно замечательное устройство, интегрирующее сдвоенный 16-разрядный ЦАП с интерфейсом USB. Используемая в PCM2702 система SpAct (можно перевести как Адаптивно Управляемое Слежение за Частотой Отсчетов) восстанавливает стабильность тактовой частоты аудиоданных, переданных по интерфейсу USB. В результате получаем: динамический диапазон — 100 дБ, отношение сигнал/шум — 105 дБ, коэффициент нелинейных искажений — 0,002%. Согласитесь, весьма неплохо для 16-разрядного устройства. Где же можно применить PCM2702? Пожалуйста: акустические системы с интерфейсом USB, усилители звуковой частоты с интерфейсом USB, другие приложения, в которых требуется передавать звуковую информацию через USB-интерфейс.
Кодеки
Как известно, кодек — это объединение ЦАП и АЦП на одном кристалле. Следовательно, кодеки вбирают в себя достижения обоих этих устройств. В случае Texas Instruments здесь не так велико количество предложений, как для стерео-ЦАП, которыми издавна славилась компания Burr-Brown, но тем не менее то, что есть, практически полностью перекрывает реальные и потенциальные потребности рынка в устройствах этого типа. Посмотрим на них повнимательней.
PCM3000/3001/3002/3003/3006
Эти кодеки — старички из производственной программы Burr-Brown. Однако они не утратили за прошедшие несколько лет своих замечательных свойств. Все эти устройства имеют униполярные входы и выходы. Что касается метрологии, PCM3000 и PCM3001 — 18-разрядные, обеспечивают отношение сигнал/шум 94 дБ, и уровень нелинейных искажений –88 дБ. Соответствующие цифры для PCM3002 и PCM3003 (16/20-разрядных) — 90 и –86 дБ, а для 16-разрядного PCM3006 — 89 и –84 дБ.
Для всех этих устройств частота выборки доходит до 48 кГц, и все они питаются от однополярного источника с выходным напряжением 3 В (за исключением PCM3000 и PCM3001, для которых напряжение питания составляет 5 В).
PCM290x — кодеки с интерфейсом USB
Эти кодеки — новинка 2002 года. Их особенность — использование интерфейса USB 1.1. Более того, устройства PCM2902 и PCM2903 поддерживают протокол S/PDIF. Все они 16-разрядные. Их групповые различия: PCM2900 и PCM2902 питаются от 5-вольтового источника, а PCM2901 и PCM2903 — от 3-вольтового. Что касается метрологии, все четыре устройства обеспечивают типовое отношение сигнал/шум 89 дБ при коэффициенте нелинейных искажений 0,01%. Все они поддерживают передовую технологию SpAct, практически полностью исключающую джиттер-эффект (частотно-временное дрожание сигнала синхронизации).
PCM3008 — малопотребляющий стерео-кодек
PCM3008 — дешевый однокристальный 16-разрядный стереокодек с униполярными аналоговыми входом и выходом. АЦП обеспечивает отношение сигнал/шум 88 дБ (ЦАП — 92 дБ) и величину нелинейных искажений –84 дБ (ЦАП — –88 дБ). Для подавления постоянной составляющей сигнала имеется цифровой ФВЧ. И АЦП, и ЦАП могут независимо друг от друга переводиться в режим отключения с полным подавлением сигнала на выходе. Поддерживается частота выборки от 8 до 48 кГц, а частота передискретизации может принимать значения 256 fS, 384 fS или 512 fS.
Напряжение питания может быть установлено в диапазоне от 2,1 до 3,6 В. При напряжении питания 2,4 В кодек потребляет всего 32 мВт. Размещается PCM3008 в корпусах TSSOP-16.
TLV320AIC23 — малопотребляющий кодек со встроенным телефонным усилителем
TLV320AIC23 — это двухканальный аудио-кодек с высокоинтегрированной аналоговой функциональностью. Входящие в состав TLV320AIC23 АЦП и ЦАП используют мультибитную сигма-дельта-технологию. Длина передаваемых слов может устанавливаться в 16, 20, 24 и 32 бита. Поддерживаются частоты выборки от 8 до 96 кГц. Сигма-дельта-модулятор АЦП имеет мультибитную архитектуру третьего порядка, обеспечивающую отношение сигнал/шум 90 дБ на частотах выборки до 96 кГц. Сигма-дельта модулятор ЦАП имеет мультибитную архитектуру второго порядка, за счет чего отношение сигнал/шум (SNR) до 100 дБ на частотах выборки до 96 кГц. Потребляемая мощность в режиме воспроизведения всего 23 мВт. TLV320AIC23 идеальный выбор для использования в портативных цифровых плеерах/рекордерах.
Интегрированные аналоговые возможности состоят из линейного стереовхода с байпасом, стереофонического телефонного усилителя с аналоговым регулятором громкости и режимом отключения звука (mute) и цепью подключения электретного микрофона. Телефонный усилитель способен выдавать 30 мВт на 32-омной нагрузке. Аналоговый байпас позволяет использовать линейный стереовход и телефонный усилитель с аналоговой регулировкой громкости, полностью исключая кодек из тракта прохождения сигнала. Выход напряжения смещения микрофона обеспечивает малошумящий источник тока для смещения электретной капсулы. AIC23 имеет в своем составе интегрированный настраиваемый микрофонный усилитель (коэффициент передачи может подстраиваться от 1 до 5) и программируемый микрофонный усилитель (0 или 20 дБ). Если необходимо, сигнал с микрофона может смешиваться с выходными сигналами.
Помимо стандартных частот передискретизации 256 и 384 fS, поддерживаются также уникальные частоты 250 и 272 fS, которые оптимальны в проектах, использующих сигнальные процессоры 'C54x и шину USB. Единственный 12 МГц кварц может обеспечить синхронизацию для ЦСП, USB и кодека.
Малое потребление и гибкая система управления питанием позволяют выборочно отключать функции устройства, расширяя продолжительность жизни батареи в мобильных приложениях. Напряжение питания ядра можно устанавливать от 1,42 до 3,6 В, что совместимо с напряжениями ядра ЦПОС 'C54x. Аналоговые цепи требуют напряжения питания от 2,7 до 3,6 В.
Программное управление кодеком, а также ввод и вывод данных осуществляются через последовательный интерфейс, совместимый с интерфейсом ЦПОС TI McBSP. Поддерживаются двухпроводный и SPI-совместимый протоколы. Выпускается устройство в исполнении BGA с полной занимаемой на плате площадью 25 мм2. Доступна также модификация в 28-выводном TSSOP.
Продолжение следует.
И.Н.Бирюков
|