CameraChips: полная видеосистема на одном кристалле
Компания OmniVision Technologies, Ink. является мировым лидером в разработке КМОП технологий видеоизображения. В 2001 году названа журналом Fortune самой быстроразвивающейся полупроводниковой компанией. Основное направление деятельности — создание простых и функционально завершенных изделий CameraChips™, состоящих из датчика изображения, схемы обработки видеосигнала и интерфейса на одном кристалле. В марте 2003 года была поставлена 25— миллионная камера, а оборот компании достиг 245 миллионов долларов.
Получение видеоизображения — неотъемлемая составляющая современных информационных технологий. В основе видеосистем — ПЗС-матрица (CCD array) и блок обработки аналогового видеосигнала (АЦП с различными дополнениями), отработанные принципы построения и технологии. Реальной альтернативой ПЗС являются КМОП датчики изображения, совмещающие на одном кристалле светочувствительную матрицу и полную обработку аналогового сигнала (включая АЦП), следствием чего является простота применения и низкая стоимость разработки и производства различных видеосистем.
Первоначально КМОП датчики изображения разрабатывались для космических программ NASA, где велась борьба за каждый миллиметр, грамм и миллиампер. В конце 90-х годов эти датчики появились на рынке электронных компонентов: в 1999 году объем продаж КМОП датчиков изображения составил 7,2 % от всех датчиков изображения. В 2004 году объем продаж составит 50,8 % от проданных датчиков изображения (прирост почти 60 % по сравнению с 6,2 % для ПЗС). Такой бурный рост обусловлен низкой стоимостью КМОП датчиков изображения, простотой применения, малыми размерами, низким потреблением (КМОП — есть КМОП), и — высокими техническими характеристиками.
Из областей применения КМОП датчиков изображения рассмотрим те, которые развиваются в странах СНГ:
- системы видеонаблюдения/системы безопасности;
- медицинские приборы;
- биометрические системы идентификации (по отпечаткам пальцев, по сетчатке глаз);
- считыватели штрих-кода;
- системы технического зрения;
- автомобили.
В автомобилях КМОП датчики изображения применяются не только в панорамном зеркале, избавляя полностью от "мертвых" зон, и — в системе контроля фар. На базе таких датчиков работают система предупреждения пересечения разделительной полосы, система ночного видения, управление подушками безопасности, визуальный контроль над сидением ребенка и — датчик дождя.
Характеристики и применение КМОП датчиков изображения рассмотрим на примере приборов фирмы OmniVision по следующим причинам: во-первых, фирма OmniVision (www.ovt.com) — один из двух лидеров данного сегмента рынка электронных компонентов, производящая 25% от всей продукции (фирма Agilent — тоже 25 %, остальные 50 % делят Conexant, Fujitsu, Eastman Kodak, STM, Sony и т.д.), во-вторых, компоненты этой фирмы имеются на рынке СНГ и стран Балтии (официальный представитель — "ПремьерЭлектрик").

CameraChips™
КМОП датчики изображения OmniVision выпускаются под торговой маркой CameraChips™ (не мудрствуя, назвали как есть — камера на кристалле) (таблица 1). Варианты — практически на все случаи жизни.
OV7930 — цветная камера с полным видеосигналом NTSCна выходе, что позволяет подключать ее непосредственно на VCR TV монитор (питание +5 В). Диапазон применения от систем видеоконференций, видеофонов до систем видеонаблюдения, безопасности, идентификации по отпечаткам пальцев, медицинского и стоматологического оборудования. И все это в 28-выводном корпусе CLCC-28 или PLCC-28.
Если вам необходим не только NTSC видеосигнал, но и PAL, то для этого подойдет OV7910/OV7411 (цветная/черно-белая), которая работает с S-video. Основное назначение этих камер (по рекомендации OmniVision) — автомобили. Но они отлично подходят и для различных систем видеонаблюдения, видеоконференций и т.д.
Особенностью камер OV8610, OV9620/OV9121 (1,3 миллиона пикселей) является возможность изменять размер окна матрицы изображений, что увеличивает степени свободы разработчика при создании различных биометрических устройств, систем машинного зрения и пр.
На базе OV2610 с разрешением 1600х1200 пикселей (2 миллиона пикселей) делать обычную систему наблюдения возможно излишне, однако она отлично подходит для видеонакопителей и камкодеров покадровой съемки.
Полный перечень производимых датчиков изображения можно найти в таблице 1.
Структуру и основные принципы работы разберем на примере камер OV7640 (цветная) OV7141 (черно-белая).
OV7640 (цветная) и OV7141 (черно-белая) CameraChips™ — КМОП датчики изображения с напряжением питания 2,5 В, которые состоят из полнофункциональной VGA камеры (с разрешением 640х480 пикселей) и процессора обработки видеосигнала (и все это — на одной подложке!). Эти камеры создают полноформатное, 8-разрядное изображение дискретным методом или по методу организации окна в различных форматах. Управление OV7640/OV7141 осуществляется через интерфейс SCCB (Serial Camera Control Bus — последовательная шина управления камерой).
Матрица изображения этого семейства работает со скоростью до 30 кадров в секунду, пользователь имеет возможность полностью управлять качеством изображения, форматированием и передачей данных. Все необходимые функции обработки изображения :регулировка экспозиции, контрастность, баланс белого, цветонасыщение, регулировка цветового тона и т.д., — программируются через интерфейс SCCB. Кроме того, в CameraChips™ используется технология OmniVision улучшения качества изображения за счет снижения или устранения "засоренности" изображения (размывание, ореол и пр.). В результате получается чистая и стабильная цветная или, черно-белая картинка.
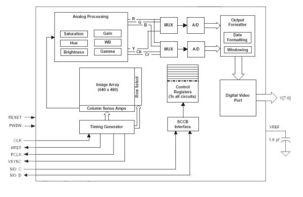
В состав OV7640/OV7141 входит (рис.1):
- матрица изображения (светочувствительная матрица) (разрешение 620х480 пикселей);
- тактовый генератор;
- блок аналоговой обработки сигнала;
- аналого-цифровые преобразователи;
- блок форматирования выходного сигнала;
- цифровой видеопорт;
- интерфейс SCCB.
 Рисунок 1. Состав OV7640/OV7141
Матрица изображения имеет 640 столбцов и 480 строк (307200 пикселей). Физически полная матрица содержит 652 столбца и 488 строк, из них 6 строк используются для калибровки уровня черного (оптический черный) цветовой интерполяции. Таким образом, максимальный размер окна матрицы составляет 652х482.
Тактовый генератор предназначен для:
- управления матрицей изображения и формирования кадра (выходы VGA и QVGA);
- генерации внутренних тактовых сигналов;
- синхронизации частоты кадров;
- управления автоматической экспозицией (АЕС);
- формирования внешних тактовых последовательностей (VSYNC, HREF и PCLK).
Блок аналоговой обработки сигнала выполняет все функции по аналоговой обработке сигнала изображения:
- автоматическое управление усилением сигнала (AGC);
- автоматический баланс белого (AWB);
- управление качеством изображения:
- цветонасыщение;
- регулировка цветового тона;
- контрастность;
- четкость;
- антиблюминг (устранение ореола);
- устранение размытости (отсутствие "тянучек").
После блока аналоговой обработки сигнал цветного изображения через мультиплексоры поступает на два 8-разрядных аналого-цифровых преобразователя, один из которых предназначен для Y/G канала, второй — для CbCr/BR. Каждый из АЦП работает на частоте до 12 МГц и полностью синхронизирован с частотой формирования пиксела (отношение реальной частоты преобразования к частоте кадра). Помимо АЦ-преобразования в этом блоке выполняется цифровая калибровка уровня черного (BLC), дополнительная задержка для УФ-канала, управление дополнительным диапазоном АЦ-преобразования. Все это позволяет пользователю регулировать яркость изображения для каждого конкретного случая.
Блок форматирования выходного сигнала обрабатывает данные перед передачей изображения на выход.
Цифровой видеопорт — управляемые программным способом драйверы выходного сигнала.
Интерфейс SCCB будет рассмотрен отдельно.
С целью упрощения подключения CameraChip к компьютеру, OmniVision предлагает контроллер USB-порта OV519-T64 CameraMate™. Использование этого контроллера совместно с цифровыми камерами CameraChips™ позволяет создать полную (поддержка аудиоканала) видеосистему с USB выходом без применения трансивера USB или — памяти.
При работе интерфейс CameraChip контроллера OV519 синхронизируется с видеоданными YCbCr 422 однокристальной камеры для реализации функций DCW (субдискретизация, ограничение и установка размеров окна) с требуемым разрешением при помощи набора команд USB. Полученное видеоизображение сразу преобразуется (в блоке сжатия данных) в стандартный формат JPG с помощью Data Compression Engine, и передается затем на хост через интерфейс USB. Все это позволяет пользователю легко, быстро и без особых затрат создавать видеосистемы на базе персонального компьютера.
Последовательная трехпроводная шина управления (SCCB) была специально разработана для управления основными функциями семейства CameraChips™. Для уменьшения числа выводов возможна работа в двухпроводном режиме . Камера OmniVision CameraChips™ подключается к шине SCCB только как ведомое устройство.
К шине SCCB может подключаться одно ведущее устройство (например, OV519), которое управляет, по крайней мере, одним ведомым. Для снижения потребления питания ведущий может отключать питание всей SCCB системы с помощью сигнала управления режима пониженного энергопотребления.
Чтобы уменьшить число выводов, при двухпроводном варианте SCCB, — один ведущий управляет одним ведомым (подключение CameraChip). При этом варианте SCCB используется один из двух способов управления: а) ведущее устройство должно поддерживать режим 3-го состояния для линии данных; б) если ведущий шины не поддерживает третье состояние, то на линии данных должен быть высокий или низкий уровень с подтверждением связи с ведомым CameraChip.
Ведущий шины формирует два управляющих сигнала SCCB_E и SIO_C, сигнал SIO_D — как ведущий, так — и ведомый. При снятии сигнала SCCB_E ведущий должен заблокировать вход SIO_D, чтобы избежать неопределенного состояния шины при переходе в третье состояние. Ведущий шины игнорирует состояние на SIO_D и подтверждает последующие фазы сигнала при передаче безразличного разряда. Для индикации цикла пониженного потребления ведущее устройство формирует сигнал PWDN_.
Ведомый (ведомые) шины принимает сигналы SCCB_E и SIO_C. Для уменьшения тока утечки (при "плавающих" входах) входные усилители сигналов SCCB_E, SIO_C и SIO_D ведомого устройства имеют вывод управления режимом ожидания (STBY). В режиме ожидания на выходе этих усилителей устанавливается уровень логической "1", что позволяет избежать логических ошибок во время режима пониженного потребления. Сигнал PWDN управляет состоянием STBY линии SCCB_E.
Информация о КМОП датчиках изображения будет неполной, если не упомянуть о средствах разработки, без которых любое "железо" остается "железом". Наборы разработки Kit и комплект драйверов помогут оживить системы, в основе которых однокристальные камеры видеосигнала.
Более полная информация подпадает под действие NDA (соглашение о конфиденциальности). Подписание NDA с фирмой OmniVision или с их официальным представителем в странах СНГ и Балтии, фирмой "Премьер-электрик" позволит вам получить подробные данные о всей продукции семейства CameraChips™ и CameraMate™, наборах Kit и другую информацию.
Краткие выводы
- КМОП датчики изображения позволяют создавать видеосистемы с малым потреблением, минимумом внешних элементов (в большинстве случаев нужна только простая оптика), высоким качеством изображения и низкой себестоимостью.
- Простота подключения к персональному компьютеру (через USB порт) значительно упрощает создание видеосистем любой сложности и для любых приложений.
Ракович Н.Н.
|